搜索


襄阳七里河路改造工程-智能分流井
产品描述
参数
详情页右侧内容区域
七里河路位于襄阳市中心城区 FC0105 规划片区内,是规划片区内“二横四纵”快速路、主干路路网格局的主要组成部分,同时也是市政管线的重要走廊。本次七里河路改造工程起于长虹路,止于清河路,线路长约 1.77 公里;规划道路沿线与长虹路、规划一路、规划二路、新华路、中陈营路、法院路、规划三路、中原路、乐业路、后陈营路(樊魏路)、规划四路及清河路共 12 条规划现状道路相交。
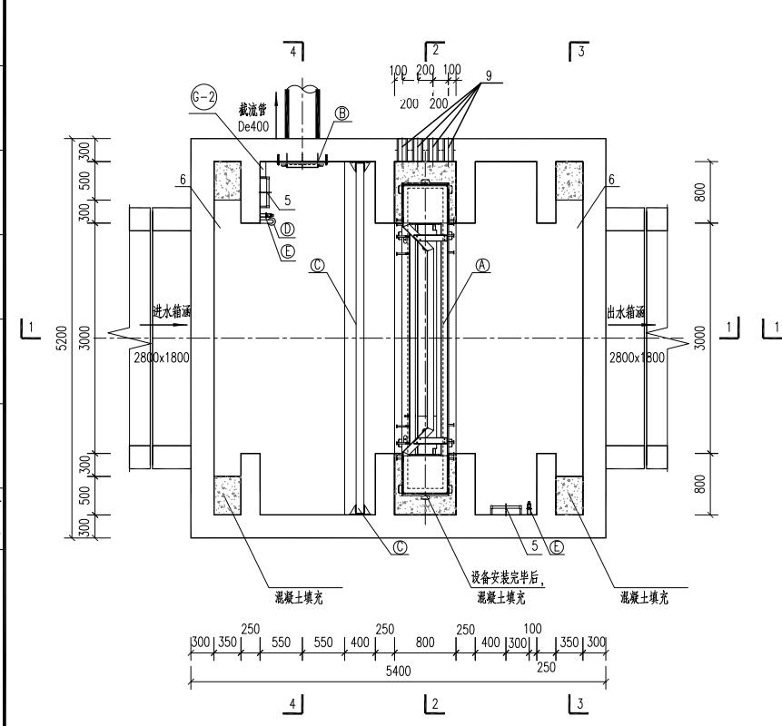
为防止七里河河水倒灌入雨水管道,增加雨水管网排水的安全性,设计拟在雨水管网末端设置一座闸门。配套雨水箱涵闸门采用下开式闸门,尺寸为 BH=2.8m×1.8m。闸门、浮动挡板均采用不锈钢。启闭机采用集成式液压启闭机(手电两用)。闸门应设置双向止水,密封效果良好,在污水环境下有良好的耐久性和耐腐蚀性,在设计工况下能承受双向水头差并能正常启闭。
因工程所在区域为襄阳市旧城区,沿线排水体制为合流制。为避免污水进入周边水体,近期在排水管网末端设施截留设施,待远期区域雨污分流改造完成后,将截留设施进行废除。截留管采用 De426×8mm 钢管,管材为 Q235A。
供货设备:液压下开堰 3000*2000 1套
上一个
无
全国服务热线
地址:上海市松江区车墩工业区泖亭路1056号
电话:+86-021-5777 4222 5777 4111
传真:021-5777 6300
Copyrighte.2025新澳门免费原料宝典 沪ICP备19040374号